Analog plus HART Communication
The BMEAHI0812(H) module is a high-density input module that includes 8 isolated analog channels. Each channel supports HART digital communication.
Use the module with sensors or transmitters. The module uses a 4-20 mA analog signal to perform monitoring and measurement functions.
The module also supports the HART protocol, which superimposes a digital signal on top of the analog signal. The HART digital signal communicates additional instrument information including instrument status, additional process variables, configuration data, and diagnostics.
Illustration
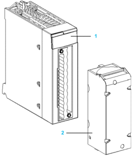
The BMEAHI0812(H) analog input module with a 20-pin terminal block accessory:

1 LED display
2 20-pin terminal block accessory
NOTE: The terminal block accessory is supplied separately.

